Prüfdummy für Aufsitzfahrzeuge nach EN 71-1
×
Prüfdummy aus Stahl feingedreht und verchromt,
Gewicht exakt laut Norm abgestimmt und kalibriert mit dauerhafter Kennzeichnung,
inkl. Hängeöse, Last B 25 kg, Last A mit 2 Aufsteckringe.
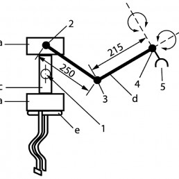
inkl. Armsimulation mit Schulter, Ellenbogengelenk und Handklemmadapter zur Befestigung am Lenkrad,
inkl. Aufsitzpad mit Befestigungsgurten unten
Prüfdummy aus Stahl feingedreht und verchromt,
Gewicht exakt laut Norm abgestimmt und kalibriert mit dauerhafter Kennzeichnung,
inkl. Hängeöse, Last B 25 kg, Last A mit 2 Aufsteckringe.
inkl. Armsimulation mit Schulter, Ellenbogengelenk und Handklemmadapter zur Befestigung am Lenkrad,
inkl. Aufsitzpad mit Befestigungsgurten unten
×






